Diamsan A.Ş.
Uçtan Çoklu Tipi Taş Düzeltme Elması

Bu elmaslar çok yönlü ve ekonomik takımlardır. Düz bileme ve kaba açılı bileme için kullanılır.
Elmaslı kısımları ebatları aşağıda belirtilmiştir. Bunlar, teknik resmi verilmiş değişik saplara göre imal edilmektedir.
Doğru elmas seçimi için, zımpara taşı özellikleri, istenilen yüzey kalitesi ve taşlanan malzeme cinsi belirtilmelidir.

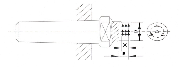
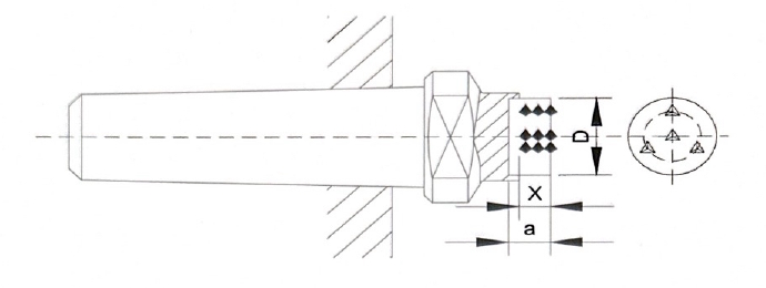
X-Tipi uçtan çoklu TDE

Çok Taneli Tekli TDE

Elmaslı kısım kesiti kullanılan elmas ağırlığı ve adedine bağlı olarak çap 8mm’den 21mm veya 10×10’dan 15x15mm olabilir.Elmas katman sayısı ve sap ölçüleri müşteri isteğine göre imal edilmektedir.

Kullanım Şartları: